Page 2 of 2







Open the PDF file with Adobe Acrobat Reader (recommended software)
PDF security password : none
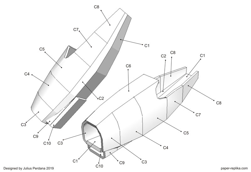
ATR-72 600 RC Plane Part 3 plans
Citilink Livery Decal







Open the PDF file with Adobe Acrobat Reader (recommended software)
PDF security password : none
ATR-72 600 RC Plane Part 3 plans
Citilink Livery Decal